Компания BMW в конце декабря подала в США заявку на выдачу патента на руль нового типа. На документ обратил внимание портал Car and Driver. Немецкий автоконцерн также хочет запатентовать разработку в Германии и Китае.
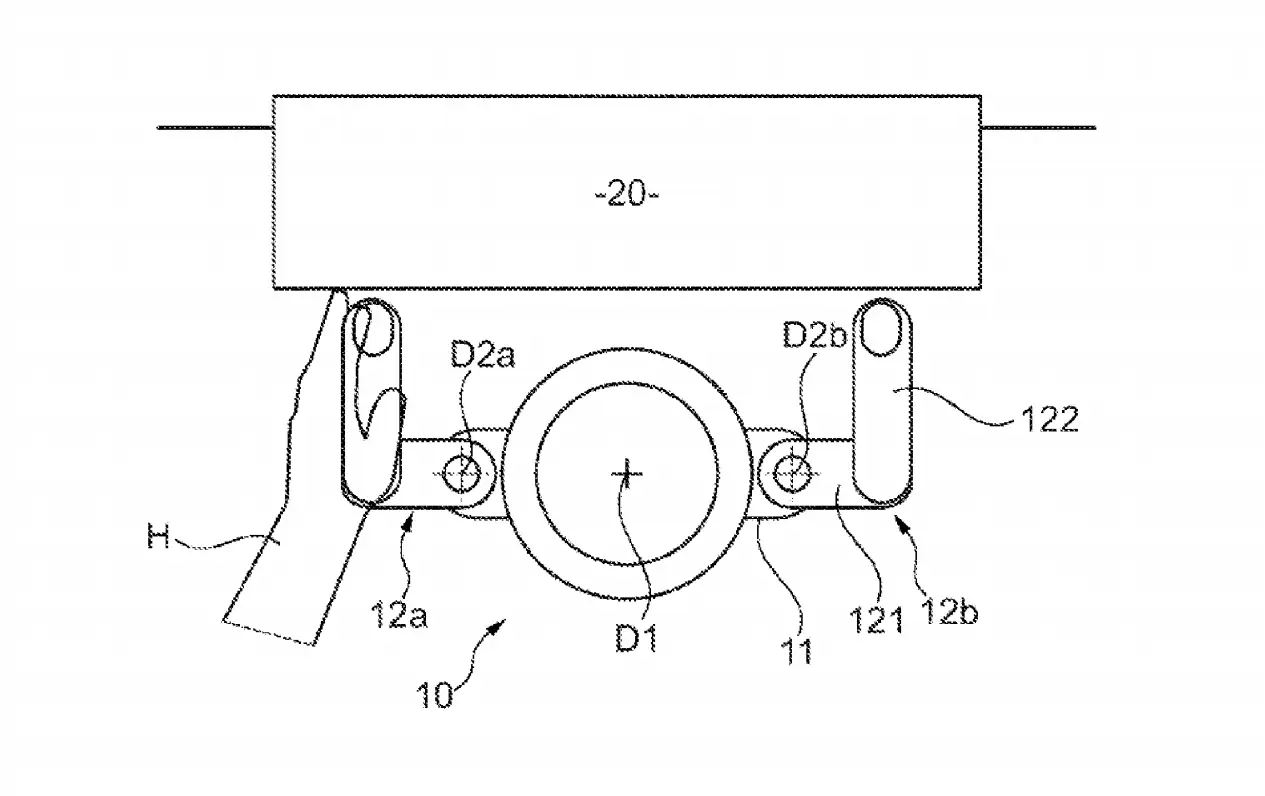
Рулевое колесо BMW на патентных изображениях напоминает гоночный штурвал и имеет две вращающиеся L-образные рукоятки. Автор Car and Driver предполагает, что такой руль может быть использован в беспилотных автомобилях третьего уровня автономности.
Отмечается, что основной идеей BMW было создание более компактного элемента управления. Предложенная производителем конструкция поможет освободить пространство перед водителем. Управлять автомобилем с таким рулем можно будет одной рукой, следует из описания изобретения.
Tesla уже устанавливает руль-штурвал в свои новые автомобили серии Model S. В августе General Motors показала концепт штурвала для управления автомобилем. Ранее стало известно, что Hyundai Motor придумала руль с дисплеем, на котором будет отображаться приборная панель.
Заглавное фото: USPTO
