Всемирная организация интеллектуальной собственности (ВОИС) опубликовала заявку на патент от Meta, в которой описываются несколько модификаций будущих смарт-часов компании. На заявку обратил внимание портал LetsGoDigital.
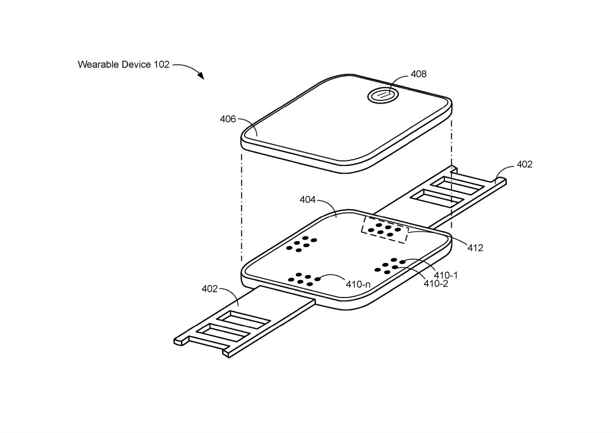
В документе речь идет о часах с квадратным и круглым дисплеями. В каждой модели могут быть встроены до трех камер с разными объективами. Дисплеи можно вращать, а также отсоединять от корпуса часов, следует из описания патента. Поворачивая экран, пользователь сможет выбирать, какую камеру использовать.
Отмечается, что часы будут оснащены датчиками для измерения температуры тела, контроля сердечного ритма, отслеживания движений и распознавания активности. Эти данные могут быть использованы при интеграции с устройствами виртуальной и дополненной реальности, над которыми также работает Meta.
Ранее сообщалось, что Meta планирует выпустить свои первые смарт-часы летом 2022 года. По данным СМИ, компания работает сразу над тремя моделями, которые будут представлены в разное время.
Заглавное фото: ВОИС
